Part Number Hot Search : 
D223K HUN2231 DM74S51N A0S03NF 18EZP 16161 RB876W11 0WAST
Product Description
Full Text Search

IR3702N - General Purpose Quad Operational Amplifier

IR3702N_1841429.PDF Datasheet

 
Part No. IR3702N
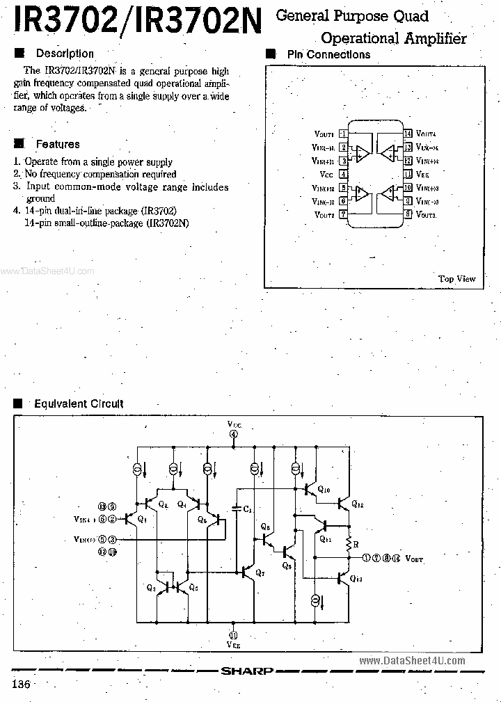
Description General Purpose Quad Operational Amplifier

File Size 152.66K  /  3 Page  

Maker

Sharp



JITONG TECHNOLOGY
(CHINA HK & SZ)
Datasheet.hk's Sponsor

Part: IR3702N
Maker: IR
Pack: SOP16
Stock: 402
Unit price for :
    50: $1.29
  100: $1.23
1000: $1.16

Email: oulindz@gmail.com

Contact us

Homepage
Download [ ]
[ IR3702N Datasheet PDF Downlaod from Datasheet.HK ]
[IR3702N Datasheet PDF Downlaod from Maxim4U.com ] :-)


[ View it Online ]   [ Search more for IR3702N ]

[ Price & Availability of IR3702N by FindChips.com ]

 Full text search : General Purpose Quad Operational Amplifier
 Product Description search : General Purpose Quad Operational Amplifier


 Related Part Number
PART Description Maker
OA100FL16 OA100FL18 OA100NL15 OA100NL19 CA25FL20 C 1 ELEMENT, 18000 uH, GENERAL PURPOSE INDUCTOR
1 ELEMENT, 46000 uH, GENERAL PURPOSE INDUCTOR
1 ELEMENT, 16000 uH, GENERAL PURPOSE INDUCTOR
1 ELEMENT, 100000 uH, GENERAL PURPOSE INDUCTOR
1 ELEMENT, 830 uH, GENERAL PURPOSE INDUCTOR
1 ELEMENT, 130000 uH, GENERAL PURPOSE INDUCTOR
1 ELEMENT, 7300 uH, GENERAL PURPOSE INDUCTOR
1 ELEMENT, 7400000 uH, GENERAL PURPOSE INDUCTOR
1 ELEMENT, 180000 uH, GENERAL PURPOSE INDUCTOR
1 ELEMENT, 30000000 uH, GENERAL PURPOSE INDUCTOR
1 ELEMENT, 40000 uH, GENERAL PURPOSE INDUCTOR
1 ELEMENT, 8000000 uH, GENERAL PURPOSE INDUCTOR
1 ELEMENT, 280000 uH, GENERAL PURPOSE INDUCTOR
1 ELEMENT, 31000 uH, GENERAL PURPOSE INDUCTOR
1 ELEMENT, 260000 uH, GENERAL PURPOSE INDUCTOR
1 ELEMENT, 11000 uH, GENERAL PURPOSE INDUCTOR
1 ELEMENT, 830000 uH, GENERAL PURPOSE INDUCTOR
1 ELEMENT, 5300 uH, GENERAL PURPOSE INDUCTOR
1 ELEMENT, 2300000 uH, GENERAL PURPOSE INDUCTOR
1 ELEMENT, 15000000 uH, GENERAL PURPOSE INDUCTOR
1 ELEMENT, 1100000 uH, GENERAL PURPOSE INDUCTOR
1 ELEMENT, 3200000 uH, GENERAL PURPOSE INDUCTOR
1 ELEMENT, 27000000 uH, GENERAL PURPOSE INDUCTOR
1 ELEMENT, 35000 uH, GENERAL PURPOSE INDUCTOR
1 ELEMENT, 7700 uH, GENERAL PURPOSE INDUCTOR
1 ELEMENT, 6300000 uH, GENERAL PURPOSE INDUCTOR
1 ELEMENT, 2500 uH, GENERAL PURPOSE INDUCTOR
1 ELEMENT, 11000000 uH, GENERAL PURPOSE INDUCTOR
1 ELEMENT, 2600000 uH, GENERAL PURPOSE INDUCTOR
1 ELEMENT, 4200000 uH, GENERAL PURPOSE INDUCTOR

P82-D-18C P82-D-8C P03-26 P03-20 P03-37 P03-23 P03 1 ELEMENT, 43000 uH, POWDERED IRON-CORE, GENERAL PURPOSE INDUCTOR
1 ELEMENT, 15000 uH, POWDERED IRON-CORE, GENERAL PURPOSE INDUCTOR
1 ELEMENT, 200000 uH, POWDERED IRON-CORE, GENERAL PURPOSE INDUCTOR
1 ELEMENT, 24000 uH, POWDERED IRON-CORE, GENERAL PURPOSE INDUCTOR
1 ELEMENT, 150000 uH, POWDERED IRON-CORE, GENERAL PURPOSE INDUCTOR
1 ELEMENT, 4300 uH, POWDERED IRON-CORE, GENERAL PURPOSE INDUCTOR
1 ELEMENT, 86000 uH, POWDERED IRON-CORE, GENERAL PURPOSE INDUCTOR
1 ELEMENT, 175000 uH, POWDERED IRON-CORE, GENERAL PURPOSE INDUCTOR
1 ELEMENT, 12500 uH, POWDERED IRON-CORE, GENERAL PURPOSE INDUCTOR
1 ELEMENT, 5000 uH, POWDERED IRON-CORE, GENERAL PURPOSE INDUCTOR
1 ELEMENT, 8000 uH, POWDERED IRON-CORE, GENERAL PURPOSE INDUCTOR
1 ELEMENT, 17500 uH, POWDERED IRON-CORE, GENERAL PURPOSE INDUCTOR
1 ELEMENT, 2400 uH, POWDERED IRON-CORE, GENERAL PURPOSE INDUCTOR
1 ELEMENT, 200 uH, POWDERED IRON-CORE, GENERAL PURPOSE INDUCTOR
1 ELEMENT, 300 uH, POWDERED IRON-CORE, GENERAL PURPOSE INDUCTOR
1 ELEMENT, 2500 uH, POWDERED IRON-CORE, GENERAL PURPOSE INDUCTOR
1 ELEMENT, 8600 uH, POWDERED IRON-CORE, GENERAL PURPOSE INDUCTOR
1 ELEMENT, 7500 uH, POWDERED IRON-CORE, GENERAL PURPOSE INDUCTOR
1 ELEMENT, 150 uH, POWDERED IRON-CORE, GENERAL PURPOSE INDUCTOR
1 ELEMENT, 30000 uH, POWDERED IRON-CORE, GENERAL PURPOSE INDUCTOR
1 ELEMENT, 7200 uH, POWDERED IRON-CORE, GENERAL PURPOSE INDUCTOR
1 ELEMENT, 10000 uH, POWDERED IRON-CORE, GENERAL PURPOSE INDUCTOR
1 ELEMENT, 50000 uH, POWDERED IRON-CORE, GENERAL PURPOSE INDUCTOR
1 ELEMENT, 100000 uH, POWDERED IRON-CORE, GENERAL PURPOSE INDUCTOR
1 ELEMENT, 2000 uH, POWDERED IRON-CORE, GENERAL PURPOSE INDUCTOR
1 ELEMENT, 3000 uH, POWDERED IRON-CORE, GENERAL PURPOSE INDUCTOR
1 ELEMENT, 6000 uH, POWDERED IRON-CORE, GENERAL PURPOSE INDUCTOR
1 ELEMENT, 40000 uH, POWDERED IRON-CORE, GENERAL PURPOSE INDUCTOR
1 ELEMENT, 600 uH, POWDERED IRON-CORE, GENERAL PURPOSE INDUCTOR
1 ELEMENT, 60 uH, POWDERED IRON-CORE, GENERAL PURPOSE INDUCTOR
1 ELEMENT, 4000 uH, POWDERED IRON-CORE, GENERAL PURPOSE INDUCTOR
1 ELEMENT, 12000 uH, POWDERED IRON-CORE, GENERAL PURPOSE INDUCTOR
ITT Interconnect Solutions
AL05-100-MA AL0555-100-MA AL05-100-MAQ AL0555-100- 1 ELEMENT, 120 uH, NON-MAGNETIC-CORE, GENERAL PURPOSE INDUCTOR
1 ELEMENT, 200 uH, NON-MAGNETIC-CORE, GENERAL PURPOSE INDUCTOR
1 ELEMENT, 5.6 uH, GENERAL PURPOSE INDUCTOR
1 ELEMENT, 5.6 uH, NON-MAGNETIC-CORE, GENERAL PURPOSE INDUCTOR
EPOXY COATED INDUCTORS
1 ELEMENT, 100 uH, NON-MAGNETIC-CORE, GENERAL PURPOSE INDUCTOR
1 ELEMENT, 0.1 uH, NON-MAGNETIC-CORE, GENERAL PURPOSE INDUCTOR
1 ELEMENT, 0.15 uH, GENERAL PURPOSE INDUCTOR
1 ELEMENT, 0.15 uH, NON-MAGNETIC-CORE, GENERAL PURPOSE INDUCTOR
1 ELEMENT, 150 uH, GENERAL PURPOSE INDUCTOR
1 ELEMENT, 18 uH, GENERAL PURPOSE INDUCTOR
1 ELEMENT, 43 uH, GENERAL PURPOSE INDUCTOR
1 ELEMENT, 62 uH, GENERAL PURPOSE INDUCTOR
1 ELEMENT, 62 uH, NON-MAGNETIC-CORE, GENERAL PURPOSE INDUCTOR
1 ELEMENT, 160 uH, NON-MAGNETIC-CORE, GENERAL PURPOSE INDUCTOR
1 ELEMENT, 10 uH, GENERAL PURPOSE INDUCTOR
1 ELEMENT, 430 uH, GENERAL PURPOSE INDUCTOR
1 ELEMENT, 1000 uH, GENERAL PURPOSE INDUCTOR
1 ELEMENT, 100 uH, GENERAL PURPOSE INDUCTOR
1 ELEMENT, 1000 uH, NON-MAGNETIC-CORE, GENERAL PURPOSE INDUCTOR
1 ELEMENT, 180 uH, GENERAL PURPOSE INDUCTOR
1 ELEMENT, 180 uH, NON-MAGNETIC-CORE, GENERAL PURPOSE INDUCTOR
1 ELEMENT, 240 uH, GENERAL PURPOSE INDUCTOR
1 ELEMENT, 10 uH, NON-MAGNETIC-CORE, GENERAL PURPOSE INDUCTOR
1 ELEMENT, 12 uH, NON-MAGNETIC-CORE, GENERAL PURPOSE INDUCTOR
1 ELEMENT, 12 uH, GENERAL PURPOSE INDUCTOR
1 ELEMENT, 1 uH, GENERAL PURPOSE INDUCTOR
1 ELEMENT, 2.7 uH, NON-MAGNETIC-CORE, GENERAL PURPOSE INDUCTOR
1 ELEMENT, 110 uH, GENERAL PURPOSE INDUCTOR
1 ELEMENT, 110 uH, NON-MAGNETIC-CORE, GENERAL PURPOSE INDUCTOR
1 ELEMENT, 150 uH, NON-MAGNETIC-CORE, GENERAL PURPOSE INDUCTOR
1 ELEMENT, 4.7 uH, GENERAL PURPOSE INDUCTOR
1 ELEMENT, 47 uH, NON-MAGNETIC-CORE, GENERAL PURPOSE INDUCTOR
1 ELEMENT, 47 uH, GENERAL PURPOSE INDUCTOR
1 ELEMENT, 300 uH, GENERAL PURPOSE INDUCTOR
1 ELEMENT, 300 uH, NON-MAGNETIC-CORE, GENERAL PURPOSE INDUCTOR
1 ELEMENT, 0.82 uH, GENERAL PURPOSE INDUCTOR
1 ELEMENT, 18 uH, NON-MAGNETIC-CORE, GENERAL PURPOSE INDUCTOR
1 ELEMENT, 8.2 uH, NON-MAGNETIC-CORE, GENERAL PURPOSE INDUCTOR
1 ELEMENT, 0.68 uH, NON-MAGNETIC-CORE, GENERAL PURPOSE INDUCTOR
1 ELEMENT, 0.82 uH, NON-MAGNETIC-CORE, GENERAL PURPOSE INDUCTOR
1 ELEMENT, 75 uH, NON-MAGNETIC-CORE, GENERAL PURPOSE INDUCTOR
1 ELEMENT, 6.8 uH, GENERAL PURPOSE INDUCTOR
1 ELEMENT, 2.7 uH, GENERAL PURPOSE INDUCTOR
1 ELEMENT, 91 uH, GENERAL PURPOSE INDUCTOR
1 ELEMENT, 33 uH, NON-MAGNETIC-CORE, GENERAL PURPOSE INDUCTOR
1 ELEMENT, 4.7 uH, NON-MAGNETIC-CORE, GENERAL PURPOSE INDUCTOR
1 ELEMENT, 0.1 uH, GENERAL PURPOSE INDUCTOR
1 ELEMENT, 220 uH, NON-MAGNETIC-CORE, GENERAL PURPOSE INDUCTOR
1 ELEMENT, 620 uH, GENERAL PURPOSE INDUCTOR
1 ELEMENT, 8.2 uH, GENERAL PURPOSE INDUCTOR
1 ELEMENT, 15 uH, NON-MAGNETIC-CORE, GENERAL PURPOSE INDUCTOR
1 ELEMENT, 1.2 uH, NON-MAGNETIC-CORE, GENERAL PURPOSE INDUCTOR
1 ELEMENT, 75 uH, GENERAL PURPOSE INDUCTOR
RCD COMPONENTS INC.
LAL03TB68020 LAL04TB68020 LAL05TB68020 LAN02TB6802 1 ELEMENT, 68 uH, GENERAL PURPOSE INDUCTOR
1 ELEMENT, 8.2 uH, GENERAL PURPOSE INDUCTOR
1 ELEMENT, 0.39 uH, GENERAL PURPOSE INDUCTOR
1 ELEMENT, 180 uH, GENERAL PURPOSE INDUCTOR
1 ELEMENT, 22 uH, GENERAL PURPOSE INDUCTOR
1 ELEMENT, 82 uH, GENERAL PURPOSE INDUCTOR
1 ELEMENT, 470 uH, GENERAL PURPOSE INDUCTOR
1 ELEMENT, 3.9 uH, GENERAL PURPOSE INDUCTOR
1 ELEMENT, 820 uH, GENERAL PURPOSE INDUCTOR
1 ELEMENT, 4.7 uH, GENERAL PURPOSE INDUCTOR
1 ELEMENT, 3900 uH, GENERAL PURPOSE INDUCTOR
1 ELEMENT, 3300 uH, GENERAL PURPOSE INDUCTOR
1 ELEMENT, 220 uH, GENERAL PURPOSE INDUCTOR
1 ELEMENT, 0.56 uH, GENERAL PURPOSE INDUCTOR
1 ELEMENT, 0.33 uH, GENERAL PURPOSE INDUCTOR
1 ELEMENT, 5600 uH, GENERAL PURPOSE INDUCTOR
1 ELEMENT, 15 uH, GENERAL PURPOSE INDUCTOR
1 ELEMENT, 330 uH, GENERAL PURPOSE INDUCTOR
Taiyo Yuden Co., Ltd.
TAIYO YUDEN CO LTD
PS27-30 PS28-D-40 PS28-D-31 PS28-D-13 PS28-D-16 P9 1 ELEMENT, 1500000 uH, POWDERED IRON-CORE, GENERAL PURPOSE INDUCTOR
1 ELEMENT, 500000 uH, POWDERED IRON-CORE, GENERAL PURPOSE INDUCTOR
1 ELEMENT, 3000000 uH, POWDERED IRON-CORE, GENERAL PURPOSE INDUCTOR
1 ELEMENT, 17500000 uH, POWDERED IRON-CORE, GENERAL PURPOSE INDUCTOR
1 ELEMENT, 86000 uH, POWDERED IRON-CORE, GENERAL PURPOSE INDUCTOR
1 ELEMENT, 5000 uH, POWDERED IRON-CORE, GENERAL PURPOSE INDUCTOR
1 ELEMENT, 860000 uH, POWDERED IRON-CORE, GENERAL PURPOSE INDUCTOR
1 ELEMENT, 12000 uH, POWDERED IRON-CORE, GENERAL PURPOSE INDUCTOR
1 ELEMENT, 300000 uH, POWDERED IRON-CORE, GENERAL PURPOSE INDUCTOR
1 ELEMENT, 150000 uH, POWDERED IRON-CORE, GENERAL PURPOSE INDUCTOR
1 ELEMENT, 400000 uH, POWDERED IRON-CORE, GENERAL PURPOSE INDUCTOR
1 ELEMENT, 43000 uH, POWDERED IRON-CORE, GENERAL PURPOSE INDUCTOR
1 ELEMENT, 10000000 uH, POWDERED IRON-CORE, GENERAL PURPOSE INDUCTOR
1 ELEMENT, 10000 uH, POWDERED IRON-CORE, GENERAL PURPOSE INDUCTOR
1 ELEMENT, 17500 uH, POWDERED IRON-CORE, GENERAL PURPOSE INDUCTOR
1 ELEMENT, 20000000 uH, POWDERED IRON-CORE, GENERAL PURPOSE INDUCTOR
1 ELEMENT, 30000000 uH, POWDERED IRON-CORE, GENERAL PURPOSE INDUCTOR
1 ELEMENT, 7200 uH, POWDERED IRON-CORE, GENERAL PURPOSE INDUCTOR
1 ELEMENT, 50000 uH, POWDERED IRON-CORE, GENERAL PURPOSE INDUCTOR
Yageo, Corp.
AL0410S470M-S-A AL0204AT3R3J-S-B AL0410S470M-S-B-N 1 ELEMENT, 47 uH, GENERAL PURPOSE INDUCTOR
1 ELEMENT, 3.3 uH, GENERAL PURPOSE INDUCTOR
1 ELEMENT, 33 uH, GENERAL PURPOSE INDUCTOR
1 ELEMENT, 330 uH, GENERAL PURPOSE INDUCTOR
1 ELEMENT, 1.5 uH, GENERAL PURPOSE INDUCTOR
1 ELEMENT, 390 uH, GENERAL PURPOSE INDUCTOR
1 ELEMENT, 22 uH, GENERAL PURPOSE INDUCTOR
1 ELEMENT, 1000 uH, GENERAL PURPOSE INDUCTOR
1 ELEMENT, 82 uH, GENERAL PURPOSE INDUCTOR
1 ELEMENT, 470 uH, GENERAL PURPOSE INDUCTOR
1 ELEMENT, 18 uH, GENERAL PURPOSE INDUCTOR
1 ELEMENT, 10 uH, GENERAL PURPOSE INDUCTOR
1 ELEMENT, 0.47 uH, GENERAL PURPOSE INDUCTOR
1 ELEMENT, 220 uH, GENERAL PURPOSE INDUCTOR
1 ELEMENT, 8.2 uH, GENERAL PURPOSE INDUCTOR
1 ELEMENT, 680 uH, GENERAL PURPOSE INDUCTOR
1 ELEMENT, 560 uH, GENERAL PURPOSE INDUCTOR
YAGEO CORP
QPL2500-H QPL250-H QTL250-F QKL50-F QKL50-M QKL500 1 ELEMENT, 2500000 uH, GENERAL PURPOSE INDUCTOR
1 ELEMENT, 250000 uH, GENERAL PURPOSE INDUCTOR
1 ELEMENT, 50000 uH, GENERAL PURPOSE INDUCTOR
1 ELEMENT, 500000 uH, GENERAL PURPOSE INDUCTOR
1 ELEMENT, 5000000 uH, GENERAL PURPOSE INDUCTOR
1 ELEMENT, 10000 uH, GENERAL PURPOSE INDUCTOR
1 ELEMENT, 1000000 uH, GENERAL PURPOSE INDUCTOR
1 ELEMENT, 5000 uH, GENERAL PURPOSE INDUCTOR
1 ELEMENT, 100000 uH, GENERAL PURPOSE INDUCTOR

9250A-184-RC 9250A-107-RC 9250A-331-RC 9250A-333-R CHOKE RF MOLDED 180UH FERRITE 1 ELEMENT, 180 uH, FERRITE-CORE, GENERAL PURPOSE INDUCTOR
CHOKE RF MOLDED 100000UH FERRITE 1 ELEMENT, 100000 uH, FERRITE-CORE, GENERAL PURPOSE INDUCTOR
CHOKE RF MOLDED .33UH PHENOLIC 1 ELEMENT, 0.33 uH, FERRITE-CORE, GENERAL PURPOSE INDUCTOR
CHOKE RF MOLDED 33UH FERRITE 1 ELEMENT, 33 uH, FERRITE-CORE, GENERAL PURPOSE INDUCTOR
CHOKE RF MOLDED 1.5UH IRON 1 ELEMENT, 1.5 uH, FERRITE-CORE, GENERAL PURPOSE INDUCTOR
Choke, Axial Molded 1 ELEMENT, 39000 uH, FERRITE-CORE, GENERAL PURPOSE INDUCTOR
Choke, Axial Molded 1 ELEMENT, 0.68 uH, FERRITE-CORE, GENERAL PURPOSE INDUCTOR
CHOKE RF MOLDED 3300UH FERRITE 1 ELEMENT, 3300 uH, FERRITE-CORE, GENERAL PURPOSE INDUCTOR
Choke, Axial Molded 1 ELEMENT, 470 uH, FERRITE-CORE, GENERAL PURPOSE INDUCTOR
CHOKE RF MOLDED 150UH FERRITE 1 ELEMENT, 150 uH, FERRITE-CORE, GENERAL PURPOSE INDUCTOR
CHOKE RF MOLDED 8200UH FERRITE 1 ELEMENT, 8200 uH, FERRITE-CORE, GENERAL PURPOSE INDUCTOR
CHOKE RF MOLDED 6800UH FERRITE 1 ELEMENT, 6800 uH, FERRITE-CORE, GENERAL PURPOSE INDUCTOR
CHOKE RF MOLDED 82UH FERRITE 1 ELEMENT, 82 uH, FERRITE-CORE, GENERAL PURPOSE INDUCTOR
CHOKE RF MOLDED 22000UH FERRITE 1 ELEMENT, 22000 uH, FERRITE-CORE, GENERAL PURPOSE INDUCTOR
CHOKE RF MOLDED .15UH PHENOLLIC 1 ELEMENT, 0.15 uH, FERRITE-CORE, GENERAL PURPOSE INDUCTOR
1 ELEMENT, 390 uH, FERRITE-CORE, GENERAL PURPOSE INDUCTOR
1 ELEMENT, 0.47 uH, FERRITE-CORE, GENERAL PURPOSE INDUCTOR
CHOKE RF MOLDED 33000UH FERRITE
CHOKE RF MOLDED 1000UH FERRITE
Bourns, Inc.
BOURNS INC
PE-0603CD470FTT PE-0603CD111FTT PE-0603CD101FTT PE 1 ELEMENT, 0.047 uH, ALUMINA-CORE, GENERAL PURPOSE INDUCTOR, SMD
1 ELEMENT, 0.11 uH, ALUMINA-CORE, GENERAL PURPOSE INDUCTOR, SMD
1 ELEMENT, 0.1 uH, ALUMINA-CORE, GENERAL PURPOSE INDUCTOR, SMD
1 ELEMENT, 0.033 uH, ALUMINA-CORE, GENERAL PURPOSE INDUCTOR, SMD
1 ELEMENT, 0.068 uH, ALUMINA-CORE, GENERAL PURPOSE INDUCTOR, SMD
1 ELEMENT, 0.27 uH, CERAMIC-CORE, GENERAL PURPOSE INDUCTOR, SMD
1 ELEMENT, 0.072 uH, ALUMINA-CORE, GENERAL PURPOSE INDUCTOR, SMD
1 ELEMENT, 0.056 uH, ALUMINA-CORE, GENERAL PURPOSE INDUCTOR, SMD
1 ELEMENT, 0.012 uH, ALUMINA-CORE, GENERAL PURPOSE INDUCTOR, SMD
1 ELEMENT, 0.12 uH, ALUMINA-CORE, GENERAL PURPOSE INDUCTOR, SMD
1 ELEMENT, 0.039 uH, ALUMINA-CORE, GENERAL PURPOSE INDUCTOR, SMD
1 ELEMENT, 0.082 uH, ALUMINA-CORE, GENERAL PURPOSE INDUCTOR, SMD
1 ELEMENT, 0.015 uH, ALUMINA-CORE, GENERAL PURPOSE INDUCTOR, SMD
1 ELEMENT, 0.01 uH, ALUMINA-CORE, GENERAL PURPOSE INDUCTOR, SMD
1 ELEMENT, 0.018 uH, ALUMINA-CORE, GENERAL PURPOSE INDUCTOR, SMD
1 ELEMENT, 0.022 uH, ALUMINA-CORE, GENERAL PURPOSE INDUCTOR, SMD
1 ELEMENT, 0.027 uH, ALUMINA-CORE, GENERAL PURPOSE INDUCTOR, SMD
1 ELEMENT, 0.33 uH, CERAMIC-CORE, GENERAL PURPOSE INDUCTOR, SMD
1 ELEMENT, 0.22 uH, CERAMIC-CORE, GENERAL PURPOSE INDUCTOR, SMD
1 ELEMENT, 0.15 uH, CERAMIC-CORE, GENERAL PURPOSE INDUCTOR, SMD
1 ELEMENT, 0.0047 uH, ALUMINA-CORE, GENERAL PURPOSE INDUCTOR, SMD
Pulse Electronics, Corp.
PULSE ELECTRONICS CORP
M21-1 M21-23 M21-18 M21-40 PF48-19 PF48-15 PF48-22 1 ELEMENT, 10000 uH, POWDERED IRON-CORE, GENERAL PURPOSE INDUCTOR
1 ELEMENT, 500000 uH, POWDERED IRON-CORE, GENERAL PURPOSE INDUCTOR
1 ELEMENT, 12000 uH, POWDERED IRON-CORE, GENERAL PURPOSE INDUCTOR
1 ELEMENT, 200000 uH, POWDERED IRON-CORE, GENERAL PURPOSE INDUCTOR
1 ELEMENT, 10000000 uH, POWDERED IRON-CORE, GENERAL PURPOSE INDUCTOR
1 ELEMENT, 50000 uH, POWDERED IRON-CORE, GENERAL PURPOSE INDUCTOR
1 ELEMENT, 2000 uH, POWDERED IRON-CORE, GENERAL PURPOSE INDUCTOR
1 ELEMENT, 24000 uH, POWDERED IRON-CORE, GENERAL PURPOSE INDUCTOR
1 ELEMENT, 86000 uH, POWDERED IRON-CORE, GENERAL PURPOSE INDUCTOR
1 ELEMENT, 17500 uH, POWDERED IRON-CORE, GENERAL PURPOSE INDUCTOR
1 ELEMENT, 240 uH, POWDERED IRON-CORE, GENERAL PURPOSE INDUCTOR
1 ELEMENT, 3000 uH, POWDERED IRON-CORE, GENERAL PURPOSE INDUCTOR
1 ELEMENT, 6000 uH, POWDERED IRON-CORE, GENERAL PURPOSE INDUCTOR
1 ELEMENT, 400 uH, POWDERED IRON-CORE, GENERAL PURPOSE INDUCTOR

7023LYF-100K 7023LYF-820K 7023LYF-821K 10RYBL 7023 Radial Type Fixed Inductors
1 ELEMENT, 18 uH, GENERAL PURPOSE INDUCTOR RADIAL LEADED, ROHS COMPLIANT
1 ELEMENT, 680 uH, GENERAL PURPOSE INDUCTOR RADIAL LEADED, ROHS COMPLIANT
1 ELEMENT, 39 uH, GENERAL PURPOSE INDUCTOR RADIAL LEADED, ROHS COMPLIANT
1 ELEMENT, 1800 uH, GENERAL PURPOSE INDUCTOR RADIAL LEADED, ROHS COMPLIANT
1 ELEMENT, 1000 uH, GENERAL PURPOSE INDUCTOR RADIAL LEADED, ROHS COMPLIANT
1 ELEMENT, 10 uH, GENERAL PURPOSE INDUCTOR RADIAL LEADED, ROHS COMPLIANT
1 ELEMENT, 22 uH, GENERAL PURPOSE INDUCTOR RADIAL LEADED, ROHS COMPLIANT
1 ELEMENT, 100 uH, GENERAL PURPOSE INDUCTOR RADIAL LEADED, ROHS COMPLIANT
1 ELEMENT, 1200 uH, GENERAL PURPOSE INDUCTOR RADIAL LEADED, ROHS COMPLIANT
1 ELEMENT, 82 uH, GENERAL PURPOSE INDUCTOR RADIAL LEADED, ROHS COMPLIANT
1 ELEMENT, 15 uH, GENERAL PURPOSE INDUCTOR RADIAL LEADED, ROHS COMPLIANT
1 ELEMENT, 56 uH, GENERAL PURPOSE INDUCTOR RADIAL LEADED, ROHS COMPLIANT
1 ELEMENT, 180 uH, GENERAL PURPOSE INDUCTOR RADIAL LEADED, ROHS COMPLIANT
1 ELEMENT, 270 uH, GENERAL PURPOSE INDUCTOR RADIAL LEADED, ROHS COMPLIANT
1 ELEMENT, 120 uH, GENERAL PURPOSE INDUCTOR RADIAL LEADED, ROHS COMPLIANT
1 ELEMENT, 1500 uH, GENERAL PURPOSE INDUCTOR RADIAL LEADED, ROHS COMPLIANT
1 ELEMENT, 220 uH, GENERAL PURPOSE INDUCTOR RADIAL LEADED, ROHS COMPLIANT
1 ELEMENT, 330 uH, GENERAL PURPOSE INDUCTOR RADIAL LEADED, ROHS COMPLIANT
1 ELEMENT, 12 uH, GENERAL PURPOSE INDUCTOR RADIAL LEADED, ROHS COMPLIANT
1 ELEMENT, 150 uH, GENERAL PURPOSE INDUCTOR RADIAL LEADED, ROHS COMPLIANT
1 ELEMENT, 47 uH, GENERAL PURPOSE INDUCTOR RADIAL LEADED, ROHS COMPLIANT
TOKO, Inc.
 
 Related keyword From Full Text Search System
IR3702N Vbe(on) IR3702N Byte IR3702N Reset IR3702N sonardyne IR3702N Microcontroller
IR3702N semiconductor IR3702N wire IR3702N band IR3702N vcc IR3702N lamp
 

 

Price & Availability of IR3702N

All Rights Reserved © IC-ON-LINE 2003 - 2022  

[Add Bookmark] [Contact Us] [Link exchange] [Privacy policy]
Mirror Sites :  [www.datasheet.hk]   [www.maxim4u.com]  [www.ic-on-line.cn] [www.ic-on-line.com] [www.ic-on-line.net] [www.alldatasheet.com.cn] [www.gdcy.com]  [www.gdcy.net]


 . . . . .
  We use cookies to deliver the best possible web experience and assist with our advertising efforts. By continuing to use this site, you consent to the use of cookies. For more information on cookies, please take a look at our Privacy Policy. X
1.1382040977478