Part Number Hot Search : 
30CTQ080 LA76600M RF1238 STO875 TC9158P KBU15KPT SC2097 MBRF2560
Product Description
Full Text Search

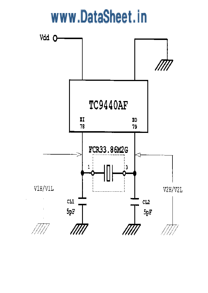
TC9440AF - Circuit

TC9440AF_763646.PDF Datasheet

 
Part No. TC9440AF
Description Circuit

File Size 8.70K  /  1 Page  

Maker


ETC



JITONG TECHNOLOGY
(CHINA HK & SZ)
Datasheet.hk's Sponsor

Part: TC9440AF-20
Maker: TOS
Pack: QFP
Stock: 177
Unit price for :
    50: $6.28
  100: $5.96
1000: $5.65

Email: oulindz@gmail.com

Contact us

Homepage
Download [ ]
[ TC9440AF Datasheet PDF Downlaod from Datasheet.HK ]
[TC9440AF Datasheet PDF Downlaod from Maxim4U.com ] :-)


[ View it Online ]   [ Search more for TC9440AF ]

[ Price & Availability of TC9440AF by FindChips.com ]

 Full text search : Circuit
 Product Description search : Circuit


 Related Part Number
PART Description Maker
RN1001 RN1002 RN1006 RN1003 RN1004 RN1005 Transistor Silicon NPN Epitaxial Type (PCT Process) Switching, Inverter Circuit, Interface Circuit And Driver Circuit Applications
Switching/ Inverter Circuit/ Interface Circuit And Driver Circuit Applications
Switching, Inverter Circuit, Interface Circuit And Driver Circuit Applications 开关,逆变电路,接口电路及驱动电路应用
TOSHIBA[Toshiba Semiconductor]
Toshiba, Corp.
RN1511 RN1510 Transistor Silicon NPN Epitaxial Type (PCT Process) Switching, Inverter Circuit, Interface Circuit And Driver Circuit Applications
Switching/ Inverter Circuit/ Interface Circuit And Driver Circuit Applications
TOSHIBA[Toshiba Semiconductor]
LT505-T DC, AC, poulsed.. with a galvanic isolation between the primary circuit (high power) and the secondary circuit (electronic circuit)
LEM[LEM]
BCR146 Q62702-C2260 NPN Silicon Digital Transistor (Switching circuit, inverter, interface circuit, driver circuit)
From old datasheet system
Siemens Semiconductor Group
RN2103 RN2101 RN2104 RN2102 RN2106 RN2105 E002645 SWITCHING, INVERTER CIRCUIT, INTERFACE CIRCUIT AND DRIVER CIRCUIT APPLICATIONS
From old datasheet system
Toshiba
RN1706 RN1701 RN1702 E002631 SWITCHING, INVERTER CIRCUIT, INTERFACE CIRCUIT AND DRIVER CIRCUIT APPLICATIONS
From old datasheet system
Toshiba
RN1413 RN1412 E002621 SWITCHING, INVERTER CIRCUIT, INTERFACE CIRCUIT AND DRIVER CIRCUIT APPLICATIONS
From old datasheet system
Toshiba
RN1610 E002630 SWITCHING, INVERTER CIRCUIT, INTERFACE CIRCUIT AND DRIVER CIRCUIT APPLICATIONS
From old datasheet system
Toshiba
E002709 RN4987 From old datasheet system
SWITCHING, INVERTER CIRCUIT, INTERFACE CIRCUIT AND DRIVER CIRCUIT APPLICATIONS
Toshiba
RN2317 RN2318 RN2315 RN2314 RN2316 E002658 SWITCHING, INVERTER CIRCUIT, INTERFACE CIRCUIT AND DRIVER CIRCUIT APPLICATIONS
From old datasheet system
Toshiba
 
 Related keyword From Full Text Search System
TC9440AF Ic on line TC9440AF transformer TC9440AF BLDC motor driver TC9440AF zener TC9440AF standard
TC9440AF for sale TC9440AF performance TC9440AF Gain TC9440AF video TC9440AF Stereo
 

 

Price & Availability of TC9440AF

All Rights Reserved © IC-ON-LINE 2003 - 2022  

[Add Bookmark] [Contact Us] [Link exchange] [Privacy policy]
Mirror Sites :  [www.datasheet.hk]   [www.maxim4u.com]  [www.ic-on-line.cn] [www.ic-on-line.com] [www.ic-on-line.net] [www.alldatasheet.com.cn] [www.gdcy.com]  [www.gdcy.net]


 . . . . .
  We use cookies to deliver the best possible web experience and assist with our advertising efforts. By continuing to use this site, you consent to the use of cookies. For more information on cookies, please take a look at our Privacy Policy. X
0.43929982185364